Артикул: ASIP-DER-OPR-451-00-58
Наименование: Опора ПАд15 деревянная анкерная переходная одноцепная IEK
Вид решения: Деревянная
Группа опоры: Анкерная
Количество жил ответвления СИП, шт:
Количество цепей: Одноцепная
Марка опоры: ПАд15
Наименование решения: Опоры
Тип опоры: Переходная
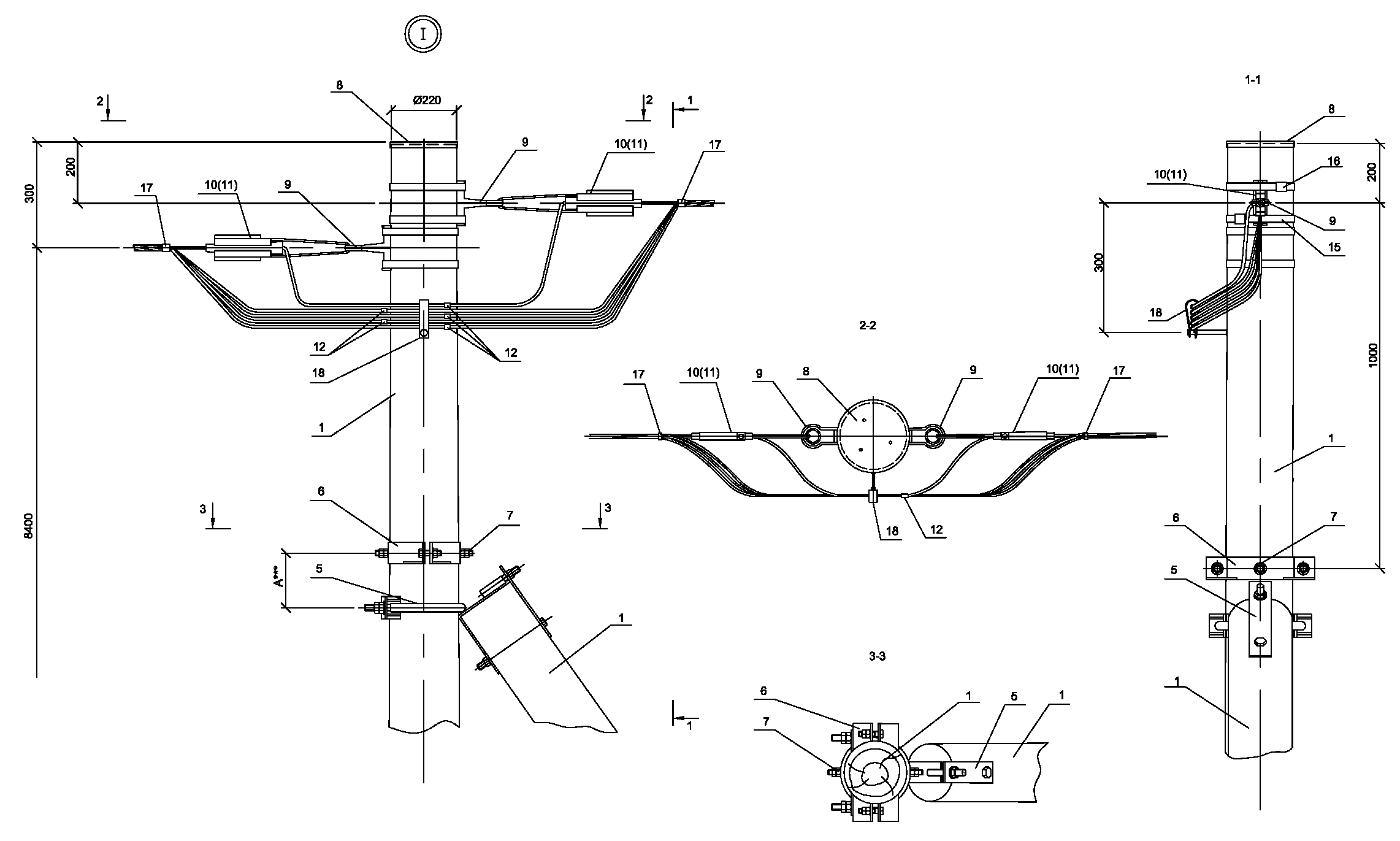
Описание: В составе проекта разработаны деревянные опоры ВЛИ 0,4кВ в соответствии с требованиями ПУЭ 7 издания. Опоры ВЛИ 0,4кВ разработаны на базе деревянных стоек длиной 9,5м, 11м, 12м. Одно и двухцепные опоры могут применяться в I-IV районах по ветру и гололёду. На всех типах опор предусмотрена возможность ответвления к вводам в здания в одну и в две стороны от ВЛ двух, четырех и 2х2 жил СИП.
Преимущества: Соответствие требованиям стандарта СТО ПАО РОССЕТИ. Сотрудничество с ведущими российскими энергетическими компаниями. Возможность внесения изменений в любое решение силами технических специалистов ГК IEK. Короткие сроки поставки компонентов решения обеспечиваются наличием широкой складской и партнёрской сети.
ЦЕНА ПО ЗАПРОСУ