Артикул: ASIP-BET-OPR-102-13-02
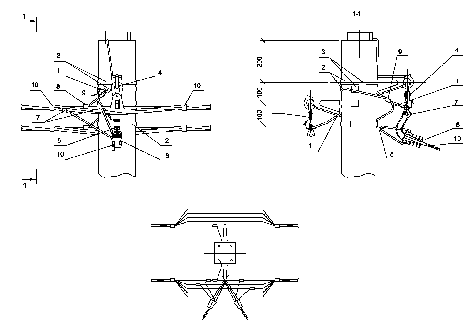
Наименование: Опора П34 ж/б промежуточная двухцепная с ответвлением в одну сторону 2хСИП4-2 IEK
Вид решения: Железобетонная
Группа опоры: Промежуточная
Количество жил ответвления СИП, шт: 2х2 шт
Количество ответвлений: В одну сторону
Количество цепей: Двухцепная
Марка опоры: П34
Наименование решения: Опоры
Тип опоры: Прямая
Описание: В составе проекта разработаны железобетонные опоры ВЛИ 0,4кВ в соответствии с требованиями ПУЭ 7 издания. Одно и двухцепные опоры могут применяться в I-IV районах по ветру и гололёду. Опоры предназначены для применения в застроенной и незастроенной местностях. На всех типах опор предусмотрена возможность ответвления к вводам в здания в одну и в две стороны от ВЛ двух, четырех и 2х2 жил СИП.
Преимущества: Соответствие требованиям стандарта СТО ПАО РОССЕТИ. Сотрудничество с ведущими российскими энергетическими компаниями. Возможность внесения изменений в любое решение силами технических специалистов ГК IEK. Короткие сроки поставки компонентов решения обеспечиваются наличием широкой складской и партнёрской сети.
ЦЕНА ПО ЗАПРОСУ