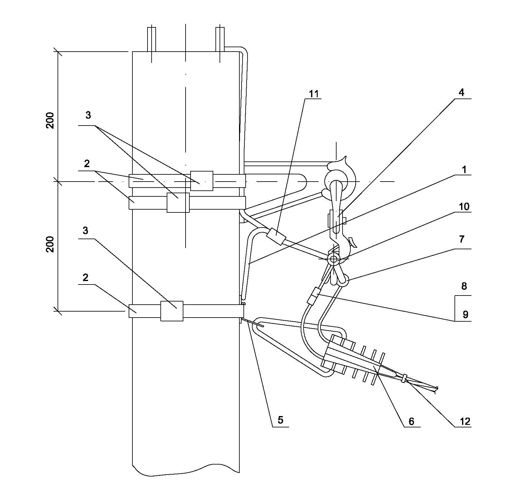
Установка предохранителя на ответвлении от ВЛ к вводам IEK

Группа:
Типовые решения для железобетонных опор

Цена:
0

{{color.label}}:



Артикул: ASIP-BET-PREB-000-00-00

Наименование: Установка предохранителя на ответвлении от ВЛ к вводам IEK

Вид решения: Железобетонная

Группа опоры:

Количество жил ответвления СИП, шт:

Количество ответвлений:

Количество цепей:

Марка опоры:

Наименование решения: Установка предохранителя на ответвлении от ВЛ к вв

Тип опоры:

Описание: Для опор со стойками типа СВ95. Комплект промежуточной подвески устанавливается на "флажок" верхнего заземляющего проводника стойки, а кронштейны установлены на "флажки" заземляющего проводника ЗП6.

Преимущества: Соответствие требованиям стандарта СТО ПАО РОССЕТИ. Сотрудничество с ведущими российскими энергетическими компаниями. Возможность внесения изменений в любое решение силами технических специалистов ГК IEK. Короткие сроки поставки компонентов решения обеспечиваются наличием широкой складской и партнёрской сети.

ЦЕНА ПО ЗАПРОСУ

Написать сообщение

Пожалуйста, оцените по 5 бальной шкале
Продолжая использовать наш сайт, вы даете согласие на обработку файлов cookie, пользовательских данных (сведения о местоположении; тип и версия ОС; тип и версия Браузера; тип устройства и разрешение его экрана; источник откуда пришел на сайт пользователь; с какого сайта или по какой рекламе; язык ОС и Браузера; какие страницы открывает и на какие кнопки нажимает пользователь; ip-адрес) в целях функционирования сайта, проведения ретаргетинга и проведения статистических исследований и обзоров. Если вы не хотите, чтобы ваши данные обрабатывались, покиньте сайт.

(требование ФЗ №152. Статья 9 "Согласие субъекта персональных данных на обработку его персональных данных")