Артикул: ASIP-BET-ZDB-000-11-00
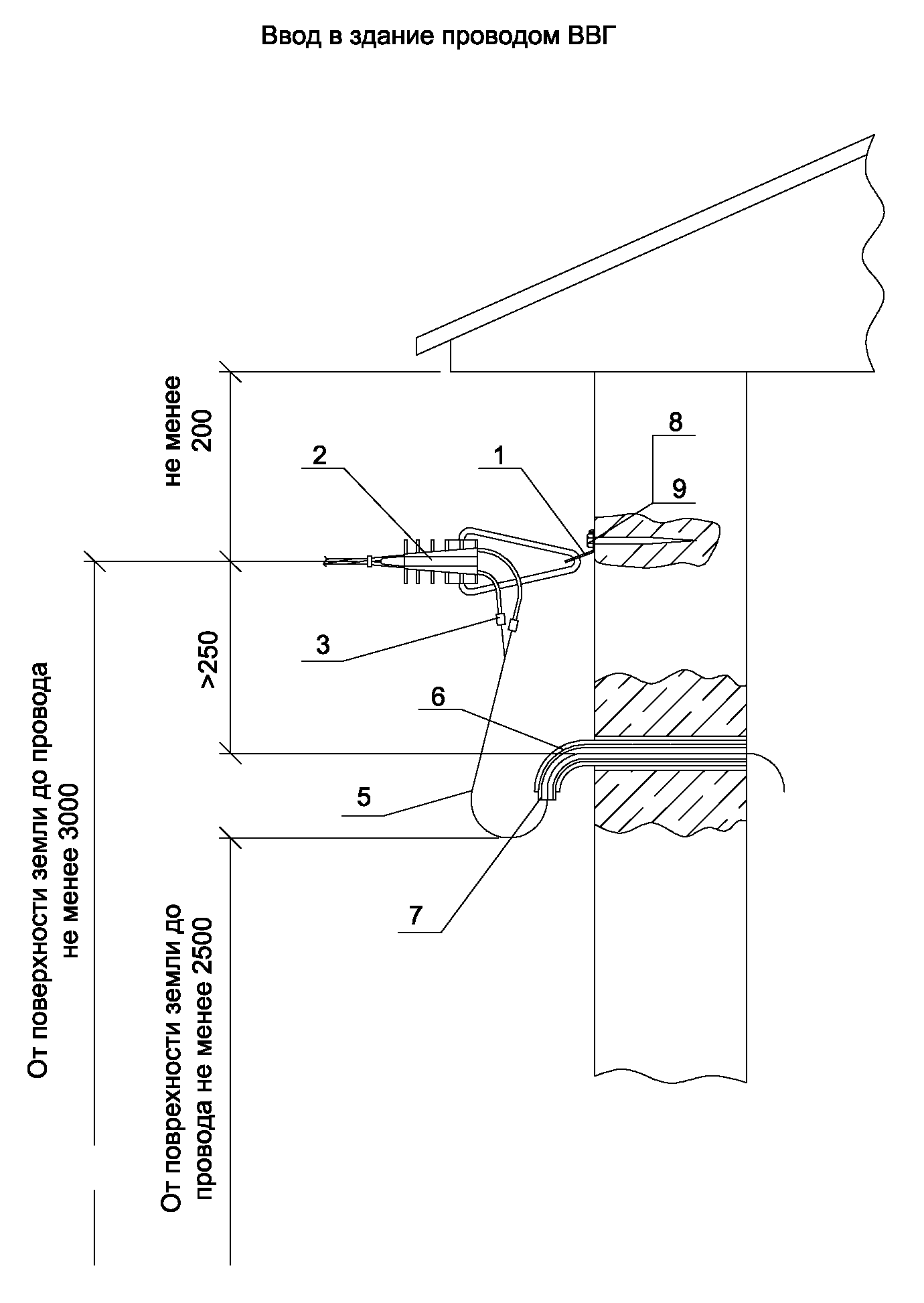
Наименование: Ввод в здание проводом ВВГ-2 IEK
Вид решения: Железобетонная
Группа опоры:
Количество жил ответвления СИП, шт: 2 шт
Количество ответвлений: В одну сторону
Количество цепей:
Марка опоры:
Наименование решения: Вводы в здания
Тип опоры:
Описание: Ввод в здание проводом ВВГ.
Преимущества: Соответствие требованиям стандарта СТО ПАО РОССЕТИ. Сотрудничество с ведущими российскими энергетическими компаниями. Возможность внесения изменений в любое решение силами технических специалистов ГК IEK. Короткие сроки поставки компонентов решения обеспечиваются наличием широкой складской и партнёрской сети.
ЦЕНА ПО ЗАПРОСУ